Наверх
8 800 700 16 93
Звонок по РФ - бесплатный
Отдел продаж

Задвижки 12х18н10т стальные клиновые в Магнитогорске

Задвижки 12х18н10т классифицируются как компактная трубопроводная арматура малого диаметра от 15 до 40 мм, в исполнении из аустенитно-коррозиестойкой стали в сплаве с титаном, краткое обозначение ЗКС УХЛ (НЖ). Используется на трубопроводах с транспортировкой жидких и газообразных сред с нейтральным воздействием на детали конструкции (вода, пар, газы нефтепродукты и т.п) с температурой t до +565 °C, а также со средне-агрессивным воздействием органическими/неорганическими кислотами, химическими растворами. Предлагаем к поставке запорную арматуру напрямую с завода — нержавеющие задвижки клиновые 12х18н10т в муфтовом 1.2 – 1.1/2 дюйма, фланцевом с КОФ и приварном исполнении присоединений:

  • ЗКС 31нж45нж Ду15 – 40 мм, Ру160, 250 кг/см2;
  • ЗКС 31нж77нж Ду15 – 40 мм, Ру160 кг/см2.

Продукция соответствует техническим регламентам ТР ТС 010, 012, 032, поставляется в комплектации под монтаж, доставляется в любой регион РФ и в страны ТС до терминалов ТК.

Фильтры
Сбросить фильтр
ДУ
Показать ещеСкрыть (17)
РУ
Показать ещеСкрыть (1)
Серия
Показать ещеСкрыть (43)
Тип конструкции
Присоединение
Управление
Исполнение по ГОСТ 15150-69
Материал исполнения (сталь)
31нж77нж
31нж77нж

Компактная задвижка клиновая нержавеющая Ру16 - 160; Ду15-40

31нж77нж фланцевый
31нж77нж муфтовый
31нж77нж под приварку
31нж45нж
31нж45нж

Задвижка из нержавеющей стали Ру160-250, ст.12Х18Н10Т, ДУ 15-150 мм.

31нж45нж фланцевый
31нж45нж муфтовый
31нж45нж под приварку

Задвижки из стали 12х18н10т

Задвижки из стали 12х18н10т — это дорогостоящая коррозиестойкая запорная арматура с расширенным диапазоном применения, изготавливаются для особых сложных условий эксплуатации. К таким условиям относятся:

  1. Условие работы трубопроводной арматуры при повышенном давлении (ТР СТ 032) – условное рабочее давление до 25 МПа.
  2. Жёсткие климатические условия эксплуатации – исполнение УХЛ (ГОСТ 15150), для умеренного холодного климата с низкой температурой до -60°C.
  3. Внешне агрессивные условия — повышенная влажность и агрессивная окружающая среда.
  4. Условия эксплуатации с агрессивными рабочими средами – кислоты, химические растворы, соляные растворы.
  5. Проводимые среды с высокой скоростью потока и высокой температурой до +565°С.

Все эти условия соблюдены у нержавеющих задвижек 31с45нж и ЗКС 31с77нжс с отличием в конструкции сальниковой камеры уплотнения шпинделя.

Задвижка 12х18н10т

На картинке выше представлены нержавеющие задвижки ЗКС, где слева корпусные детали изготовлены из поковок и конструкция с бугельным узлом уплотнения шпинделя, справа детали изготовлены из прокатной стали того же состава (подробная справка по стали 12х18н10т) и конструкция с внутренним сальником.

Прокатная и кованая сталь имеет повышенную прочность, поэтому применяется в производстве задвижек высокого давления, а коррозиестойкие свойства позволяют применение в условиях с пониженными температурами и повышенной влажностью, к тому же эксплуатационные рабочие среды могут быть высокотемпературными до +565 градусов Цельсия и слабоагрессивными.

Общепромышленное обозначение задвижек 12х18н10т Условный проход, Ду (мм)

Давление Ру (кг/см2)

Исполнение – сталь 12х18н10т Присоединение к трубопроводу
1 ЗКС 31нж45нж 15, 20, 25, 32, 40 160, 250 Прокатная Муфтовое, фланцевое, под приварку
2 ЗКС 31нж77нж 160 Кованая

Характеристики задвижек 12х18н10т:

  • Тип трубопроводной арматуры: ЗКС – нержавеющая задвижка компактная (кованая) высокого давления с ручным управлением маховиком, функция на трубопроводе только запорная без регулировки потока.
  • Изготовление и поставка: ТУ 3741-003-27844275-2014.
  • Климатическое исполнение (ГОСТ 15150): УХЛ (-60°С до +40°С).
  • Условное давление сред (Ру): 16 - 250 кг/см2.
  • Условный проход (Ду) – 15, 20, 25, 32, 40 мм.
  • Исполнение корпусных деталей: нержавеющая конструкционная прокатная или кованая сталь с титаном марка 12х18н10т или сталь с молибденом 10Х17Н13М2Т (ANSI 316Ti) для температур до +565°С (ГОСТ 5632-72).
  • Рабочие среды: неагрессивные и слабоагрессивные жидкие и газообразные с температурой от – 40 до +425 градусов Цельсия и до +565°С для сплава с молибденом.
  • Герметичность: класс А (ГОСТ 9544-2015).
  • Типы присоединений — фланцевое (уплотнительные поверхности по ГОСТ 33259-2015) с комплектацией КОФ и метизом, муфтовое ½ - 1 ½, под приварку.

Параметры надёжности:

  • Назначенный срок службы 30 лет;
  • Наработка на отказ 800 циклов;
  • Установленный средний ресурс 3000 циклов;
  • Гарантия 12 месяцев со дня ввода в эксплуатацию;
  • Гарантия консервации (масло к-17) — 24 месяца.

Запорная арматура проходит обязательный выходной контроль на герметичность по классу А, поставляется во все регионы РФ и страны Таможенного Союза.

Конструкция задвижки 12х18н10т

Существуют два типа конструкций задвижек из стали 12х18н10т:

  1. Классическая с бугельным узлом уплотнения шпинделя набивкой ТРГ. Такая конструкция массовая в производстве, используется для задвижек в исполнении из поковок (кованая сталь).
  2. С внутренним ТРГ уплотнением шпиндель/корпус – используется в производстве ЗКС из прокатной стали, либо в смешанном варианте изготовления из поковок и прокатной стали.

Также эти конструкции разделяются на три по присоединению к трубопроводу:

  1. Муфтовые задвижки ЗКС — резьбовое присоединение ½ - 1 ½ дюйма.
  2. Фланцевые задвижки – присоединение фланцами с КОФ стяжное по ГОСТ 33259-2015.
  3. Приварные задвижки – присоединение сварным методом в стык.

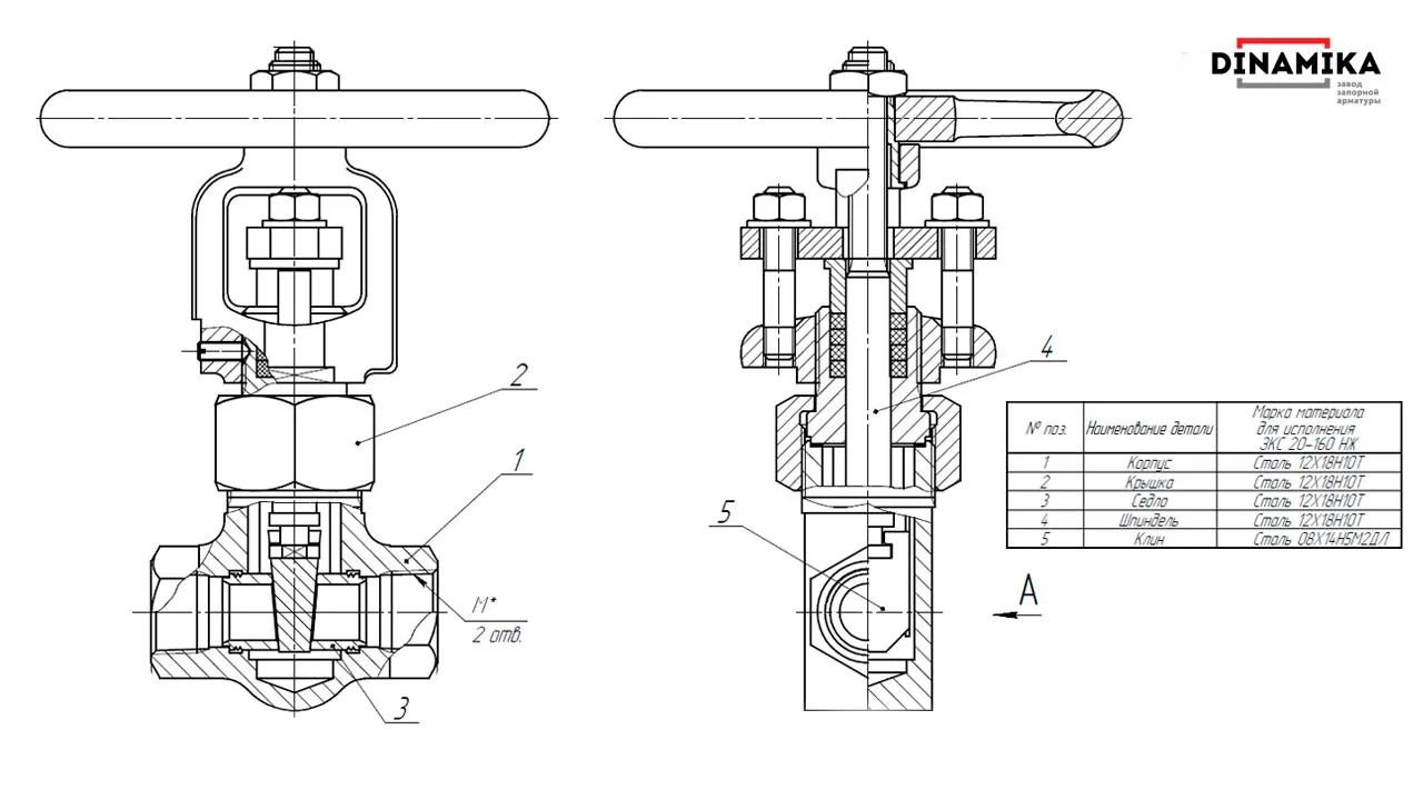
Для общего понимания подетального состава конструкции ниже представлен эскиз-чертёж, наиболее популярной конструкции муфтовой задвижки Ду15 с бугельным узлом, резьбовое присоединение М20х1,5 или G ½.

Задвижки клиновые 12х18н10т

Особенности – пояснения конструкции по эскизу-чертежу:

  1. Корпус – исполнение из поковки стали 12х18н10т, что позволяет выдерживать повышенные давления проводимой среды.
  2. Крышка – стяжной элемент конструкции соединяет верхнюю часть и корпус ЗК.
  3. Седло – отдельная деталь затвора установлена резьбовым методом в корпус, является частью уплотнения затвора (металл по металлу).
  4. Шпиндель – управляющий шток выдвижной конструкции, при открытии задвижки увеличивается строительная высота на размер проходного сечения.
  5. Клин – затвор клиновидного типа в исполнении из цельного обожжённого металлопроката высокопрочной стали.

Верхняя управляющая затвором часть ЗКС 12х18н10т представляет собой стойку с бугельным узлом (сальниковая камера уплотнения шпинделя). Уплотнение шпиндель/стойка — термо-расширенный графит (ТРГ) выдерживающий высокие температуры при повышенном давлении.

Размеры изделий запрашивайте заявкой в отдел продаж, работаем индивидуально по каждой заявке с согласованием чертежа.

Альтернативные задвижки по материалам исполнения, аналоги по конструкции:

Алтайский Край
Барнаул
Архангельская Область
Архангельск
Астраханская Область
Астрахань
Башкортостан Республика
НефтекамскСтерлитамакУфа
Белгородская Область
Белгород
Брянская Область
Брянск
Бурятия Республика
Улан-Удэ
Владимирская Область
КовровМуромВладимир
Волгоградская Область
Волгоград
Вологодская Область
ЧереповецВологда
Воронежская Область
Воронеж
Дагестан Республика
Махачкала
Ивановская Область
Иваново
Иркутская Область
Иркутск
Калининградская Область
Калининград
Калмыкия Республика
Элиста
Калужская Область
Калуга
Кемеровская Область
КемеровоНовокузнецк
Кировская Область
Киров
Кировская область
Киров
Коми Республика
Сыктывкар
Костромская Область
Кострома
Красноярский Край
Красноярск
Курганская Область
Курган
Курская Область
Курск
Ленинградская Область
Санкт-Петербург
Липецкая Область
Липецк
Марий Эл Республика
Йошкар-Ола
Мордовия Республика
Саранск
Мурманская Область
Мурманск
Нижегородская Область
АрзамасНижний Новгород
Новгородская Область
Великий Новгород
Новосибирская Область
Новосибирск
Омская Область
Омск
Оренбургская Область
ОренбургОрск
Орловская Область
Орел
Пензенская Область
Пенза
Пермский Край
Пермь
Псковская Область
Псков
Рязанская Область
Рязань
Саратовская Область
Саратов
Смоленская Область
Смоленск
Ставропольский Край
Ставрополь
Тамбовская Область
Тамбов
Тверская Область
Тверь
Томская Область
Томск
Тульская Область
Тула
Тюменская Область
ТобольскТюмень
Удмуртская Республика
Ижевск
Ульяновская Область
ДимитровградУльяновск
Хабаровский Край
Хабаровск
Ханты-Мансийский Автономный округ - Югра Автономный округ
НефтеюганскНижневартовскСургут
Челябинская Область
ЧелябинскМагнитогорскМиасс
Чувашская Республика - Чувашия
Чебоксары
Ямало-Ненецкий Автономный округ
Новый УренгойСалехард
Ярославская Область
ЯрославльРыбинск